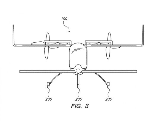
Spoluzakladatel společnosti Google Larry Page má zálibu nejen ve fulltextových vyhledávačích, ale také v létajících automobilech. Americký miliardář vlastní dokonce dvě společnosti, které se zabývají právě vozidly jak vystřiženými z Fantomase. Je tomu nedávno, co byl jeden ze strojů spatřen při testování v kalifornském Hollisteru. Prototyp patří společnosti Zee.Aero sídlící poblíž. Létající automobil vyfotil Steve Eggleston, zaměstnanec firmy DK Turbines, která sídlí poblíž letištní dráhy.








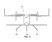
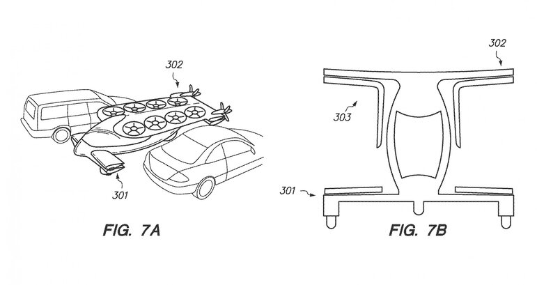
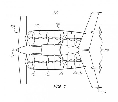
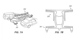
Podle všeho se vůz vznášel několik metrů nad zemí. Svědek popsal zvuk letícího prototypu jako velmi podobný elektrickému motoru, jen s vyšším tónem. Stroj s několika rotory vykazuje značnou podobnost s návrhy, které si firma nechala patentovat. I když je prototyp popisován jako létající vůz, z mého pohledu vypadá stroj spíš jako letadlo křížené s helikoptérou, které má kola. Možná firma řešila nejdříve létání a jízda po pevném povrchu přijde na řadu jindy. Na jednom z návrhů však lze jasně vidět stroj zaparkovaný mezi klasickými auty. Na přesunutí dopravy do vzduchu si ještě asi počkáme, určitě však projektu držíme palce.
Zdroj: jalopnik.com
