Obrázek 1 / 8

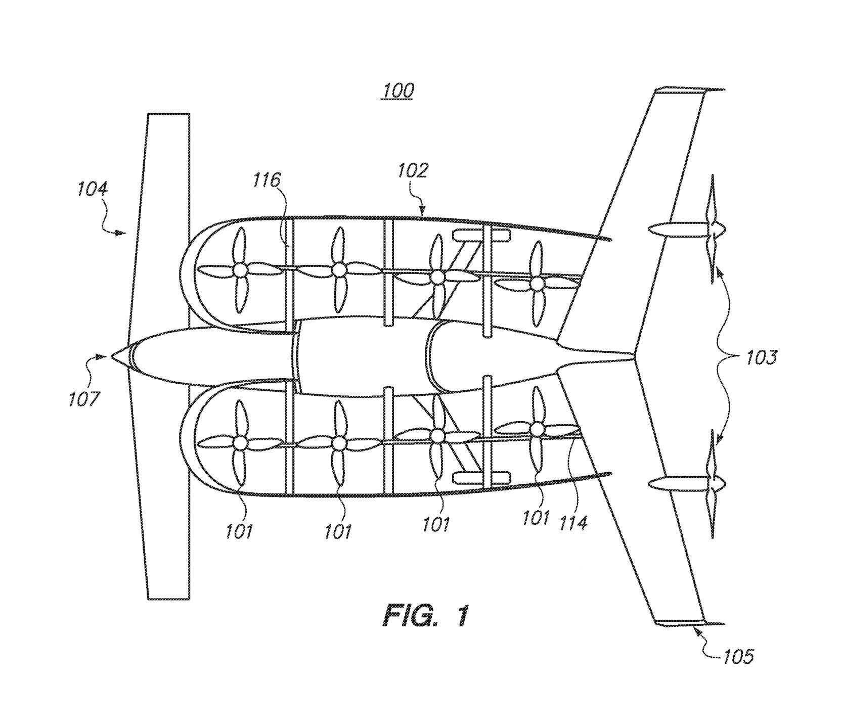
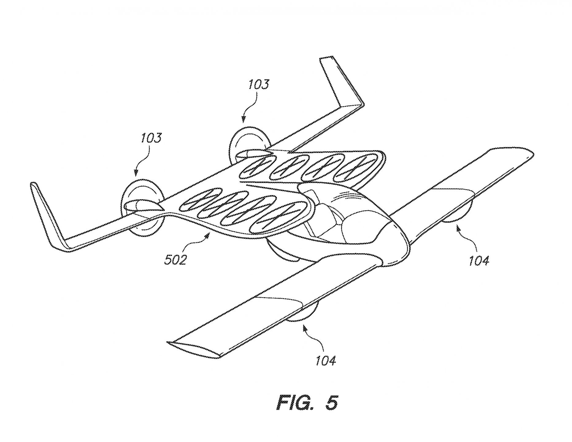
Prototyp Zee.Aero

Přiblížit obrázek Oddálit obrázek
Prototyp Zee.Aero
Prototyp Zee.Aero
Prototyp Zee.Aero
Prototyp Zee.Aero
Prototyp Zee.Aero
Prototyp Zee.Aero
Prototyp Zee.Aero
Prototyp létajícího auta společnosti Zee.Aero