Obrázek 7 / 16

Tesla Roadster (2017)

Přiblížit obrázek Oddálit obrázek
Tesla Roadster (2020) zavazadelník
Tesla Roadster (2020)
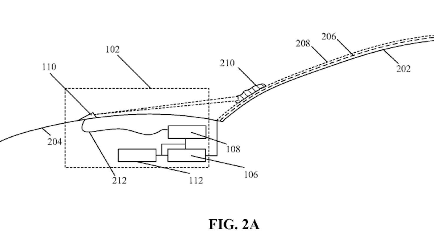
Patentový snímek ohledně laserů obsluhujících čelní okno
Tesla Roadster (2017)
Tesla Roadster (2017)
Tesla Roadster (2017)
Tesla Roadster (2017)
Tesla Roadster (2017)
Tesla Roadster (2017)
Tesla Roadster (2020) zavazadelník
Patentový snímek ohledně laserů obsluhujících čelní okno
Tesla Roadster (2017)
Tesla Roadster (2017)
Tesla Roadster (2017)
Tesla Roadster (2017)
Tesla Roadster (2017)